龙门加工中心以其独特的龙门式结构设计为基础,结合先进的数控技术,实现了对复杂工件的高精度加工。龙门加工中心的工作原理主要基于以下几个方面:
一、龙门结构设计
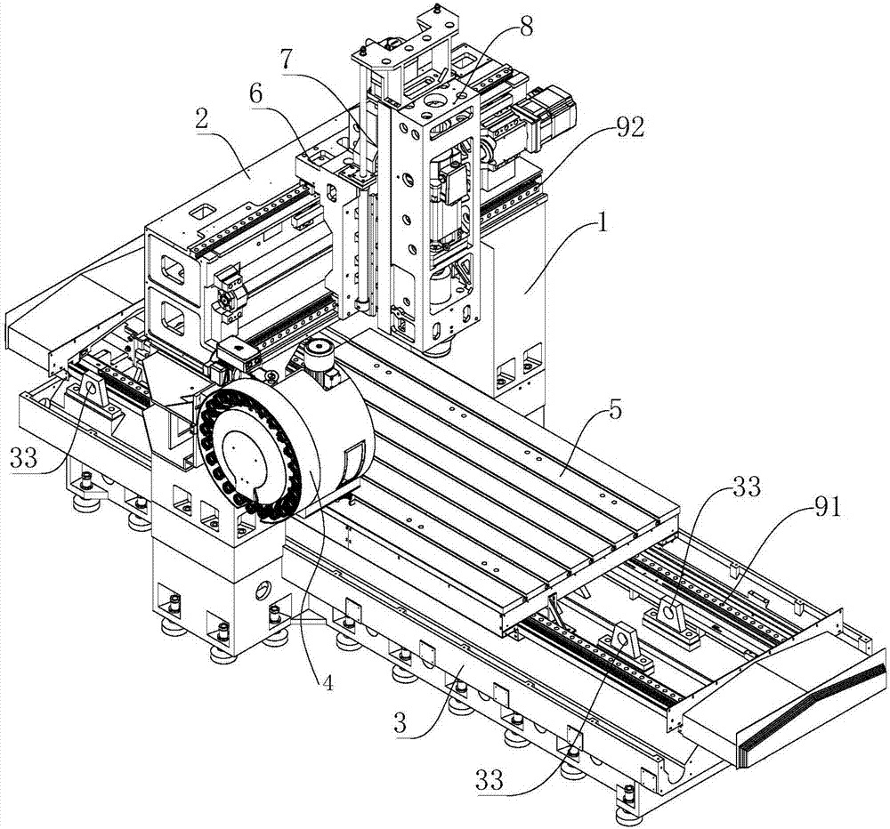
龙门加工中心的核心是其横跨机床左右两侧的横梁(龙门),这个结构为机床提供了强大的刚性和稳定性。横梁上通常装有可移动的镗铣头或刀具库,这些部件能够在横梁上沿X轴方向移动,实现横向加工。
二、工作台与工件固定
工件被牢固地夹持在工作台上,工作台可以沿Y轴(垂直于横梁的方向)和Z轴(垂直于工作台表面的方向)移动。这种多轴移动能力使得龙门加工中心能够加工出复杂的三维形状。

三、数控系统控制
龙门加工中心配备有先进的数控系统(CNC),该系统根据预设的加工程序控制机床的运动。加工程序通常通过CAD/CAM软件设计并生成,详细指定了刀具路径、切削速度、进给率等参数。在加工过程中,数控系统根据程序指令控制工作台和刀具的运动,实现自动化加工。
四、刀具选择与更换
龙门加工中心可能配备有多种刀具,这些刀具可以根据加工需求自动或手动更换。刀具通过主轴高速旋转,对工件进行切削、钻孔、镗孔等加工操作。
五、加工过程
加工过程通常包括以下几个步骤:
1. 工作台首先沿Y轴移动至指定位置。
2. 刀具沿X轴移动到加工起始点。
3. 刀具开始旋转,同时工作台沿Z轴下降,使刀具与工件接触并开始切削。
4. 随着加工的进行,工作台和刀具会根据程序指令进行连续或间断的移动,以完成预定的加工形状。
六、冷却液与润滑
在加工过程中,为了降低刀具和工件的磨损、提高加工质量,通常会使用冷却液对切削区域进行冷却和润滑。同时,机床的导轨、轴承等部件也需要定期润滑,以确保机床的平稳运行。
七、加工完成与检测
加工完成后,龙门加工中心会自动停止运动,并回到初始位置。此时可以对加工后的工件进行检测,以验证加工精度和质量是否符合要求。
综上所述,龙门加工中心的工作原理主要基于其独特的龙门式结构设计和先进的数控技术,通过精确控制工作台和刀具的运动,实现对复杂工件的高精度加工。