精确的坐标系确立是五轴联动机床实现高精度加工的基础,也是发挥设备最大性能的关键所在。
在五轴联动加工领域,机床坐标系的准确建立直接关系到加工精度和设备效能。一个精准的坐标系不仅能够保证加工质量,更能有效避免碰撞事故,提升加工效率。接下来风暴娱乐小编就来聊一聊五轴联动机床坐标系的确定方法。
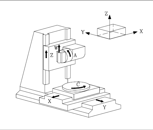
1、坐标系确立的基石:右手笛卡尔法则
五轴机床坐标系遵循ISO 841标准,采用三维右手笛卡尔直角坐标系:
直线轴定义:伸出右手拇指、食指、中指并保持90度垂直,拇指指向X轴正方向(水平向右),食指指向Y轴正方向(垂直向前),中指指向Z轴正方向(垂直向上)。在卧式机床中,Z轴通常平行于主轴方向;立式机床中,Z轴则垂直于工作台。
旋转轴定义:围绕X、Y、Z轴的旋转运动分别定义为A、B、C轴,遵循右手螺旋法则。例如,当大拇指指向X轴正方向时,其余四指的旋转方向即为A轴正方向。
2、坐标系确立的核心原则:工件静止假设
五轴机床采用"工件静止、刀具运动"的编程逻辑,通过逆向推导刀具路径实现加工。例如,在加工叶片曲面时,程序会控制刀具沿预设轨迹运动,而非让工件旋转。这一原则确保了坐标系设定的统一性,使编程人员无需考虑实际机床运动形式。

3、坐标系确立的实践路径:三步定位法
基准轴定位:以机床主轴为基准确定Z轴方向,通过水平仪校准主轴与工作台的垂直度,误差需控制在±0.01mm以内。例如,在摇篮式五轴机床中,B轴(工作台旋转轴)的零点定位需通过激光干涉仪进行精度校验。
旋转轴校准:采用"双点定位法"确定旋转轴中心。以A/C双摆头机床为例,先在主轴端安装标准芯棒,通过千分表测量芯棒旋转时的径向跳动,调整摆头角度直至误差≤0.005mm;再通过触碰式测头采集摆头极限位置数据,计算旋转中心坐标。
工件坐标系设定:将加工原点设定在旋转工作台轴线上,X/Y坐标由转台中心确定,Z坐标则以工件上表面为基准。例如,在加工航空发动机叶片时,需先测量叶片榫头位置,通过CAM软件生成包含旋转轴补偿的刀路文件。
4、坐标系确立的精度保障:误差补偿技术
五轴机床通过RTCP(刀具中心点控制)功能实现动态误差补偿。当旋转轴运动时,系统自动计算刀具中心点位置偏差,并调整直线轴位移进行补偿。例如,在加工复杂曲面时,RTCP功能可确保刀具始终沿理论轨迹运动,避免过切或欠切现象。
五轴联动机床的坐标系设定,是机械精度、电气控制与软件算法的深度融合。从右手笛卡尔法则的坐标定义,到工件静止假设的编程逻辑,再到三步定位法的实践规范,每一步都凝聚着高端制造的精密智慧。掌握这些核心原理,不仅能帮助企业提升加工精度,更能在航空、能源等战略领域占据技术制高点。